全球疫情最新数据消息与死亡人数查询,了解现状,共同抗击疫情

admin 97 2025-04-27 05:25:23

自新冠疫情爆发以来,全球范围内的疫情数据及其相关动态一直备受关注,随着病毒变异和传播的不断变化,疫情的最新数据消息、死亡人数以及防控措施等信息成为人们关注的焦点,本文将为您详细介绍全球疫情最新数据消息及如何查询死亡人数,以期大家能更好地了解现状,共同抗击疫情。

全球疫情最新数据消息

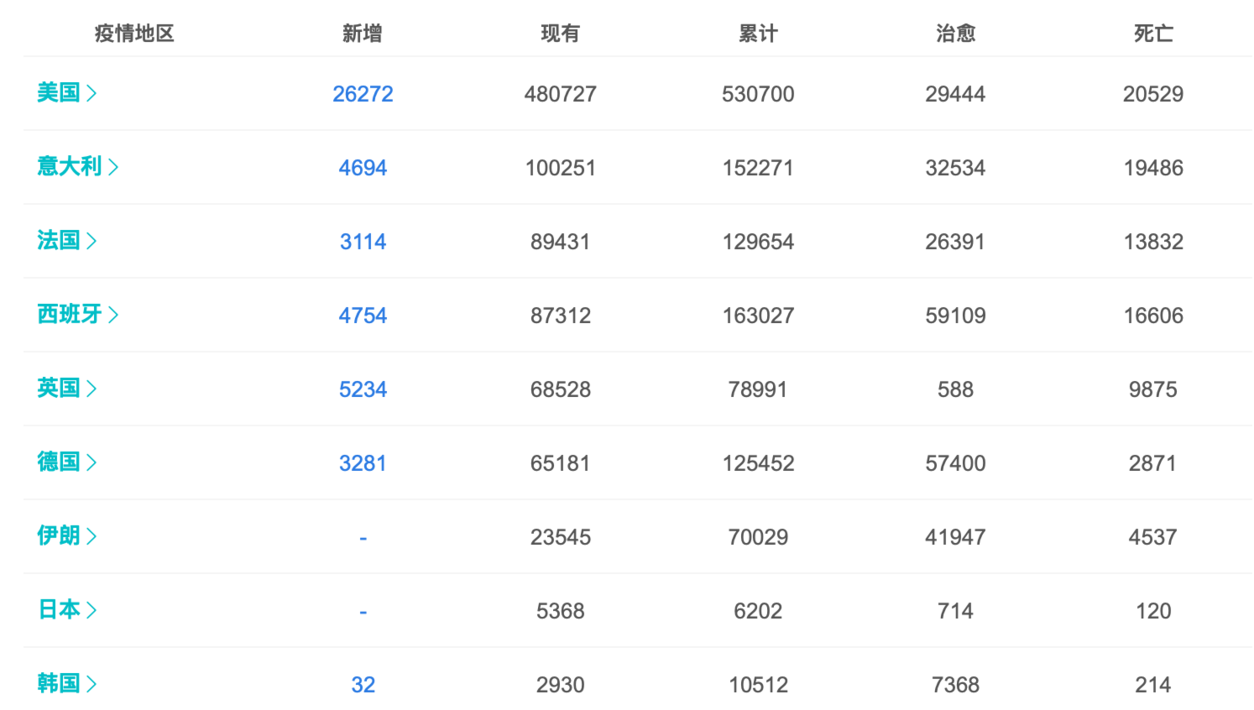
根据最新数据显示,新冠病毒在全球范围内仍在持续传播,截至本文撰写之时,全球累计确诊人数和死亡人数仍在不断攀升,各国政府纷纷采取了一系列措施来应对疫情,包括加强疫苗接种、实施封锁措施、提高检测能力等,尽管全球疫情形势依然严峻,但一些国家已经开始逐步恢复正常生活秩序,疫情防控取得了一定成效。

疫情死亡人数查询

对于疫情死亡人数的查询,我们可以通过多种途径获取相关信息,以下是一些常用的查询方式:

1、官方数据来源:各国政府或卫生部门会发布官方数据,包括累计死亡人数、新增死亡人数等,可以通过访问各国政府官网、卫生部官网或相关疫情数据平台获取。

全球疫情最新数据消息与死亡人数查询,了解现状,共同抗击疫情

2、权威媒体报告:许多权威媒体会实时更新疫情数据,包括死亡人数,可以通过关注新闻网站、电视台、报纸等途径获取。

3、专业疫情数据平台:一些专业的疫情数据平台会实时更新全球疫情数据,包括死亡人数,世界卫生组织(WHO)、约翰斯·霍普金斯大学等机构的疫情数据平台。

全球疫情现状分析

当前,全球疫情形势依然严峻,但一些国家已经开始逐步恢复正常生活秩序,疫苗接种率的提高、病毒变异的监测以及防控措施的加强等,为疫情防控取得了一定成效,新冠病毒的传播仍然存在不确定性,人们仍需保持警惕,遵守防控措施。

如何共同抗击疫情

面对全球疫情,我们需要共同努力,共同抗击疫情,以下是一些建议:

全球疫情最新数据消息与死亡人数查询,了解现状,共同抗击疫情

1、加强国际合作:各国应加强合作,共同应对疫情挑战,分享防控经验、疫苗研发、医疗资源等方面的信息,携手应对疫情。

2、提高疫苗接种率:疫苗接种是防控疫情的重要措施之一,各国应加大疫苗接种力度,提高疫苗接种率,减少病毒传播风险。

3、遵守防控措施:人们应遵守防控措施,包括佩戴口罩、保持社交距离、勤洗手等,只有每个人都尽自己的一份力,才能有效遏制疫情的传播。

4、关注权威信息:关注官方和权威机构发布的疫情信息,不信谣传谣,共同维护良好的社会秩序。

全球疫情最新数据消息与死亡人数查询,了解现状,共同抗击疫情

全球疫情形势依然严峻,我们需要共同努力,共同抗击疫情,通过查询疫情最新数据消息和死亡人数,了解现状,遵守防控措施,提高疫苗接种率,加强国际合作,共同维护全球公共卫生安全,相信在人类的共同努力下,我们一定能够战胜疫情,迎接更美好的未来。

上一篇:疫情现状与应对策略,区域疫情追踪报告
下一篇:全球疫情最新数据与死亡人数,抗击疫情的严峻挑战持续加剧
相关文章

 发表评论

暂时没有评论,来抢沙发吧~