全球新冠疫情死亡人数统计概况

admin 85 2025-04-19 04:45:22

自新冠疫情爆发以来,全球范围内已经造成了数以百万计的感染和数十万的死亡病例,随着疫情的蔓延,人们越来越关注新冠疫情的死亡人数,这一数字也成为了全球关注的焦点之一,本文将探讨全球新冠疫情的死亡人数问题,并介绍相关的背景信息和最新数据。

疫情背景

新冠疫情自爆发以来,迅速在全球范围内传播,给人类带来了巨大的健康和经济压力,病毒的传播速度快、感染性强,使得各国政府和医疗机构面临着前所未有的挑战,疫情初期,由于缺乏有效的防控和治疗措施,疫情迅速恶化,导致大量感染和死亡病例的出现,随着全球范围内的努力,疫苗的研发和普及逐渐取得了进展,疫情得到了控制,但死亡人数仍然是一个令人痛心的数字。

全球新冠疫情死亡人数

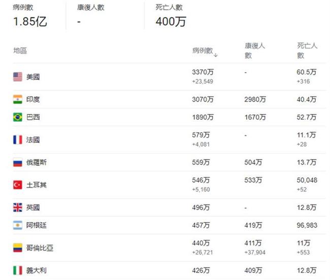
新冠疫情的死亡人数是一个令人震惊的数字,根据最新的数据,全球新冠疫情的死亡人数已经超过了数百万,这一数字随着时间的推移而不断增加,因为疫情在不同的国家和地区之间传播的速度和程度不同,导致各国死亡人数的差异较大,在一些疫情严重的国家,死亡人数尤为惊人,给当地人民带来了巨大的痛苦和损失。

全球新冠疫情死亡人数统计概况

影响因素

新冠疫情的死亡人数受到多种因素的影响,病毒的传播速度和感染强度是决定死亡人数的重要因素之一,各国的医疗体系和防控措施的差异也会对死亡人数产生影响,一些国家的医疗体系较为发达,防控措施得力,能够有效降低死亡人数;而一些医疗条件较差的国家则面临着更大的挑战,年龄、健康状况、基础疾病等因素也会对个体的死亡率产生影响。

最新数据

截至最近的数据更新,全球新冠疫情的死亡人数已经超过了特定数字,这一数字随着时间的推移而不断增加,因为疫情仍在全球范围内肆虐,随着疫苗的研发和普及,以及各国政府和医疗机构的努力,疫情已经得到了控制,死亡人数增长速度已经放缓。

全球新冠疫情死亡人数统计概况

应对措施

面对新冠疫情的威胁,各国政府和医疗机构采取了多种措施来应对,疫苗的研发和普及是控制疫情的关键措施之一,疫苗的普及可以有效降低感染率和死亡率,保护人们的健康和安全,加强防控措施也是重要的手段之一,各国政府采取了多种措施来限制病毒的传播,如加强社交距离、佩戴口罩、加强消毒等,加强医疗体系建设也是应对疫情的重要措施之一,各国需要加大对医疗体系的投入,提高医疗水平和服务能力,以应对可能出现的疫情。

展望未来

尽管全球新冠疫情的死亡人数仍然是一个令人痛心的数字,但随着疫苗的研发和普及,以及各国政府和医疗机构的努力,疫情已经得到了控制,我们需要继续加强防控措施,提高疫苗接种率,加强医疗体系建设,以应对可能出现的疫情,我们也需要从疫情中吸取教训,加强全球卫生体系建设,提高应对公共卫生事件的能力。

全球新冠疫情死亡人数统计概况

全球新冠疫情的死亡人数是一个令人震惊的数字,给人类带来了巨大的痛苦和损失,面对疫情的威胁,我们需要团结一心,共同应对,通过疫苗的研发和普及、加强防控措施、加强医疗体系建设等措施,我们可以控制疫情的传播,保护人们的健康和安全。

上一篇:新型冠状肺炎疫情症状深度剖析
下一篇:中国疫情结束时间与属相,未来预测与回顾
相关文章

 发表评论

暂时没有评论,来抢沙发吧~